欢迎光临~阻燃面料生产厂家
语言选择: 中文版 ∷  英文版

公司新闻

电子绞边器的绞边原理和类型

一、电子绞边器的绞边原理
    电子绞边器无论怎样分,其绞边原理是一样的,区别只在于绞边综的驱动方式。
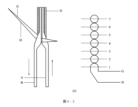
    1.纺纱线的穿法
    综丝纱“G”:这根纱穿过综丝“A”和“B”之间的骑马综“D”上的孔眼;绞纱“H”这根纱以针纱同样的方法穿在两根综丝之间。
    2.绞边综的休闲
    绞边综的休闲分为4个阶段:
    阶段1:在开口的时刻,综丝纱“G”处于绞纱“H”的上面[图4-2(a)]
    阶段2:综丝“B”被向上推,而综丝“A”和“D”一起被向下拉[图4-2(b)]。
    阶段3:综丝“A”、“B”交叉时,绞纱“H”处于综丝纱“G”的下面[图4-2(c)]。
    阶段4:综丝“B”和骑马综“D”一起被向下拉,而综丝“A”被向上推[图4-2(d)]。
    二、电子绞边器的类型
    根据使用织机类型的不同,电子绞边器分为:剑杆织机用电子绞边器;喷气织机用电子绞边器,喷水织机用电子绞边器。每一种电子绞边器又有各种型号和规格,可根据需要选用。
    

AAAMHGCVVBEW


版权声明

本站发布的有些文章部分内容来源于互联网。如有侵权,请联系我们,我们会尽快删除。

联系我们

CONTACT US

联系人:杨小姐

手机:13912652341

电话:0512-5523 0820

邮箱:377830286@qq.com

地址: 江苏省昆山市新南中路567号A2217