欢迎光临~阻燃面料生产厂家
语言选择: 中文版 ∷  英文版

公司新闻

印花设备-蒸化设备

丝织物印花的主要设备有筛网印花设备、蒸化设备和水洗设备。筛网印花设备参阅第八章有关章节内容。
  一、蒸化设备
  丝织物印花后,在印花机上已经过烘燥,但后还必须经过蒸化,使染料及各种化学助剂在肯定温度、湿度、压力下发生作用,使染料和纤维发生固着作用。蒸化设备有间歇式和连续式两种。

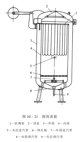
  11圆筒蒸箱
  圆筒蒸箱是丝织物印花常用的一种间歇式蒸化设备,主要由外筒、内筒、夹层蒸汽管、筒底层直接蒸汽管、挂绸架、顶盖等组成,结构如图10-21所示。
  圆筒蒸箱一般为站式,外筒直径一般为1800~2000mm,外筒和内筒之间形成一个环形夹层空间,上有顶盖可以启闭。蒸化时在夹层中通入蒸汽,一方面对蒸箱起到保温作用,另一方面可预防蒸汽冷凝聚成水滴。圆筒外壁包有绝热材料,预防散热。内筒底部有直接蒸汽管、进水管、排汽管、排水管及花铁板(假底),花铁板上铺有麻袋布或在蒸汽管上方装有不锈钢网孔板隔层,以阻水点溅到织物上。此外,还装有温度表、压力表、安全阀、水位表等装置。
  待蒸化的织物以肯定的挂绸方式钩挂在挂绸架上,蒸化时将挂绸架用电吊车吊入蒸箱的内筒。挂绸的方式有星形和S形两种,挂绸架吊入内筒后,盖上顶盖并锁紧密封,然后在夹层内通入蒸汽,使蒸汽通过网孔钢板进入内筒,直至充满内筒空间和夹层空间,以提供蒸化所需的温度和湿度。在蒸化过程中,为了使蒸汽在织物上均匀地循环流动,不产生冷凝水滴,可将排汽管略微开启。机内蒸化温度可由排汽管进行操纵,湿度则通过两个进汽管的进汽量进行操纵,蒸化时一般使用饱和蒸汽,如采纳过热蒸汽,直接蒸汽管应浸没在箱底水中,使水在直接过热蒸汽作用下沸腾蒸发,补充湿度不足。
  圆筒蒸箱的结构简单,造价低廉,用途比较广,可用于各类印花织物及各种不同印花工艺的蒸化,适宜于小批量生产,蒸箱容绸量为约120~450m(4~15匹)。但蒸汽的调节比较困难,操作不当易产生上下得色的深浅差别。其它,挂绸和下绸等辅助工作都是人工操作,劳动强度较大。
  21连续式蒸化设备
  连续式蒸化机有长环式、蛛网式及无底连续式几种。
  (1)长环式:长环式连续蒸化机适宜于直接印花织物的蒸化,容绸量较大。
  (2)蛛网式:蛛网式连续蒸化机主要用于雕印织物的蒸化,由于蒸化时间较短,故不适宜一般的直接印花织物的蒸化,但可用于活性染料直接印花的蒸化。
  (3)无底连续式:无底连续蒸化机是目前蒸化设备中正在进展中的一种,可适于各种纤维织物。它可采纳100℃左右的饱和蒸汽,若采纳过热蒸汽,则温度可达180℃。
AAAGFHTRYKUYIU7OUP


版权声明

本站发布的有些文章部分内容来源于互联网。如有侵权,请联系我们,我们会尽快删除。

联系我们

CONTACT US

联系人:杨小姐

手机:13912652341

电话:0512-5523 0820

邮箱:377830286@qq.com

地址: 江苏省昆山市新南中路567号A2217