此类上色设备适用于毛面料染整厂对散毛或其他散纤维的上色。
1.NC464B型散毛上色机
如图7-12所示,上色机上色时,先将洗净的散毛均匀地装入散毛桶内,装满后将散毛桶吊入染槽中,压紧顶盖,开动循环泵,染液由散毛桶的多孔芯轴喷出,通过纤维层,再回到循环泵。
上色的温度和时间按升温工艺曲线操纵,染毕放去残液,注入清水,循环洗净纤维上的浮色,然后吊起散毛桶,取出纤维。该机每次可染羊毛100kg。

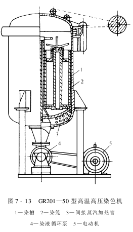
2.GR201—50型高温高压上色机
如图7-13所示,高温高压上色机主要用于染涤纶散纤维、涤纶毛球及涤纶绞纱。涤纶一般在130℃左右进行上色。在此温度下上色,其匀染性和上染率都比较理想。GR201—50型高温高压上色机有3个染笼,可装散纤维100kg或绞纱50kg。上色时,将纤维装入染笼,装满后用吊车将染笼吊入染槽中,盖好密封盖,开动循环泵使染液循环,升温上色,染毕放去残液,注入清水清洗纤维,开启顶盖,吊出染笼,取出纤维。

本站发布的有些文章部分内容来源于互联网。如有侵权,请联系我们,我们会尽快删除。
联系人:杨小姐
手机:13912652341
电话:0512-5523 0820
邮箱:377830286@qq.com
地址: 江苏省昆山市新南中路567号A2217