欢迎光临~阻燃面料生产厂家
语言选择: 中文版 ∷  英文版

公司新闻

控制系统电子储纬装置

    电子储纬装置可以依照事先设定的数据将纬丝缠绕在测长鼓上,并定量放纬。本装置由储纬量操纵,测长操纵,纬丝选择操纵、压纱器操纵,转向水阀操纵及补水阀操纵组成。
    (1)储纬量操纵:为了预防织机起动时纬丝储存不足的现象,要预先卷绕必要数量的纬丝。
    (2)测长操纵:使用电信号操纵电磁阀(指棒)的吸合及断开来操纵每一纬的纬丝长度。
    (3)纬丝选择操纵:由纬丝选择指令装置,进行二色或三色纬丝的选择指令,进行纬丝的选择。
    (4)压纱器操纵:由终端操纵,按照预设的角度,将纬丝夹紧或放开。
    (5)转向水阀操纵:同纬丝选择操纵,和选色同步。
    (6)补水阀操纵:织机停止后,手动或自动为水泵补水。
    电子储纬装置通常由储纬头、操纵箱、预置器及手动开关组成。详见图3-49。
    目前国内喷水织机一般配置的大多是春日储纬器(PAW)、ROJ储纬器(IRO)。近年国内不少生产厂家也推出了自己的产品,但基本模式仍为以上两种。下面对两种储纬器分别介绍。
    1.PAW储纬器
    其储纬头外形及结构如图3-50所示。
    
 
    图中所示的储纬器为标准结构,亦称罗拉式。它由2根驱动罗拉及4根自由罗拉组成。其中自由罗拉可以用作卷绕长度(备纱长度)及卷绕张力调节使用,改变自由罗拉的径向尺寸或角度,便可方便的适应各种不同纤维或不同的门幅。
    罗拉式储纬器用于加捻丝时,具有明显的优势。
    图3-51为罗拉式储纬器的结构。
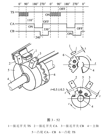
    储纬头的动作,应和织机的启动和停止同步。当织机启动后,运转至喷嘴出水的角度时,储纬器的指棒(电磁钩)抬起,同时压纱器也松开,喷嘴内的水流将纬丝带出,完成引纬过程。当纬丝飞行到头后,指棒放下,压纱器闭合,幸免纬丝松弛。这里指棒和压纱器的吸合或断开都和织机的运转角度有紧密关系。所以储纬器必须要求织机提供运转信号及基准信号,A储纬器信号、B储纬器信号。上述信号一般使用三只接近开关操纵。其安装调试方式见图3-52。
   
    
    接近开关的调整:颜色转换信号由接近开关TS1、CA2、CB3输出。TS为定时基准用开关,CA、CB为颜色切换用接近开关。接近开关和凸轮的间隙调整为0.5±0.3mm;凸轮一旦靠近接近开关,其相对应的LED灯亮。储纬器的操作,包含指棒、压纱器及旋转阀等的参数设置或修改都在储纬器操纵箱上的预设器上操作。预设器上有指令键、颜色数据设定键、基本键等3种,计30个。
    指令键的说明见表3-3。
    

   
    
    PAW储纬器的操纵方框图见图3-53。
    2.IRO储纬器
    TDS/Z是纱圈间隙分开的纬纱储存器可以安装在喷气式和喷水式织机上,其适用纺纱线范围广。从20dtex(细纱)到120tex(粗纱)不等。它按要求的纬纱长度放纬。其储纬头的外形见图3-54。
    IRO储纬器具有的功能:
    (1)绕纱盘可设定为S向或Z向转动,这取决于纺纱线的捻向。
    (2)纬纱储存成分开的纱圈且分纱间距可调[注意:纱圈的间隔可设定在0.7mm(小直径的储纱鼓)和2.2mm(大直径的储纱鼓)之间]。
    (3)释放的纱圈用完电管检测。
    (4)纬纱长度的调节[LENGTH]是通过调整储纱鼓直径和设定要释放的纱圈的数量来预置的(纬纱长度的范围:64~520cm)。

    (5)建站到织机操纵盘的双向通讯。直接通过织机操纵盘设定工作参数或通过Roj手持终端设定。
    (6)通过装在SuperElf里的完电管或RojTFE4纺纱线检测器,可以在输入处操纵断纬时的动作。
    (7)织机停机功能。
    储纬电动机操纵系统示意图见图3-55。
    
AAAASE3RETRUY7I8OFG


版权声明

本站发布的有些文章部分内容来源于互联网。如有侵权,请联系我们,我们会尽快删除。

联系我们

CONTACT US

联系人:杨小姐

手机:13912652341

电话:0512-5523 0820

邮箱:377830286@qq.com

地址: 江苏省昆山市新南中路567号A2217